STA71 | BPZ:STA71 SIEMENS замена: STA73 цена, купить
2- позиционный контроль систем отопления‚ охлаждаемых потолков и оконечных устройств
| Тип | Рабочее напряжение | Время позиционирования при 20 °C | Сигнал позиционирования | Кабель |
|---|---|---|---|---|
| STA71 | AC /DC 24 V | 3 мин | 2-позиционный ШИМ ¹) | 1.2 m |
¹) широтно-импульсная модуляция
Когда на клапан поступает управляющий сигнал, температура нагревательного элемента увеличивается и это приводит к расширению твердой среды. Данное расширение преобразуется в линейное движение, которое задвигает шток привода внутрь. Клапан открывается силой пружины. Когда привод выключен, шток выдвигается и клапан закрывается. Термоприводы STA21… и STA71… не содержат вращающихся частей и поэтому работают тихо и не изнашиваются.
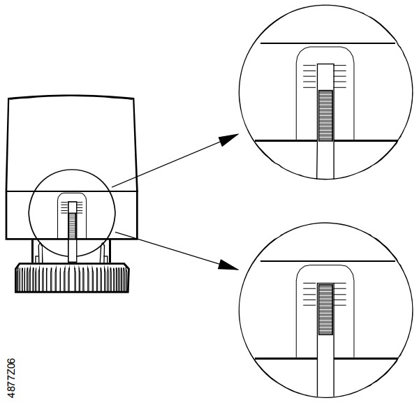
Положение клапана показывается синей полоской, которая двигается вверх и вниз вместе со штоком привода.
![]() |
В этом положении привод отключен: Шток привода выдвигается и клапан закрывается.
В этом положении клапан был подключен к питанию не менее трех минут: Шток привода выдвинут и клапан открыт. |



| Наименование | Артикул | Описание | Изображение |
|---|---|---|---|
| AL41 | BPZ:AL41 | Фитинг, устойчивый к внешним воздействиям для приводов STA.., STP.. | ![]() |
| AV52 | BPZ:AV52 | Переходник на клапан Comap | ![]() |
| AV53 | BPZ:AV53 | Переходник на клапан Danfoss RA-N (RA2000) | ![]() |
| AV54 | BPZ:AV54 | Переходник на клапан Danfoss RAVL | ![]() |
| AV55 | BPZ:AV55 | Переходник на клапан Danfoss RAV | ![]() |
| AV56 | BPZ:AV56 | Переходник на клапан Giacomini | ![]() |
| AV57 | BPZ:AV57 | Переходник на клапан Herz | ![]() |
| AV58 | BPZ:AV58 | Переходник на клапан Oventrop M30x1 | ![]() |
| AV59 | BPZ:AV59 | Переходник на клапан Vaillant | ![]() |
| AV60 | BPZ:AV60 | Переходник на клапан TA to 2002 | ![]() |
| AV61 | BPZ:AV61 | Переходник на клапан MMA Markaryd | ![]() |